前面的文章我们介绍了西门子S7-1200的数字量输入模块SM1221,这篇文章我们来介绍下数字量输出模块SM1222,并讨论下继电器输出模块和晶体管输出模块有什么不同?

SM1222的数字量输出模块可以分为两个大类:一类是继电器(Relay)输出型,一类是晶体管(MOSFET)输出型,我们分别来详细介绍下:
SM1222的继电器(Relay)输出类型的模块包括8通道(SM 1222 DQ 8XRealy)和16通道(SM 1222 DQ 16XRealy),其触点可以连接5V到30V的直流电或者5V到250V的交流电。
SM 1222 DQ 8XRealy模块的外观如下:

该模块消耗背板5V电流120mA,每使用一个输出通道消耗24V传感器电流11mA。(不清楚背板5V电流和24V传感器电流的小伙伴可以看看前面文章"S7-1200硬件篇之如何选择电源模块 ");
模块有2个接线端子,从上到下依次是X10和X11,针脚的定义如下图(其中X10-4和X11-2用来接外部电源):
接线概览图如下:

SM 1222 DQ 16XRealy模块消耗背板5V电流135mA,每使用一个输出通道消耗24V传感器电流11mA,外观如下图:

该模块有4个接线端子,从上到下依次是X10,X11,X12和X13,针脚的定义如下图(其中X10-3/X11-3/X12-5/X13-1用来接外部电源):

接线概览图如下:

另一种输出模块是晶体管(MOSFET)输出类型:晶体管全称为金属-氧化物半导体场效应晶体管,英文名称Metal-Oxide-Semiconductor Field-Effect Transistor,缩写为 MOSFET,也简称为MOS管,SM1222使用的都是源型晶体管(向外输出电流),可承受的电压范围为DC 20.4V-28.8V,也分为8通道(SM 1222 DQ 8X24V)和16通道(SM 1222 DQ 16X24V)。

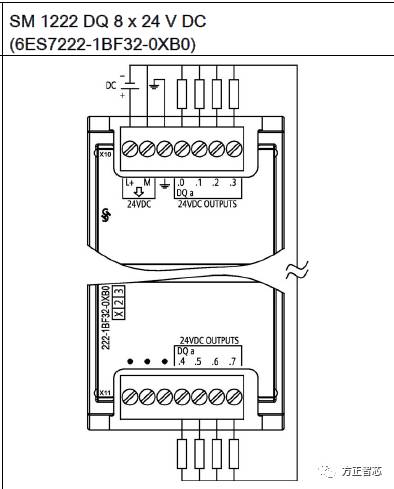
SM 1222 DQ 8X24V 消耗背板5V电流120mA,消耗24V传感器电流50mA,模块分为上下两个接线端子:X10和X11,针脚定义如下(注意与Relay型的区别):
接线概览图如下:

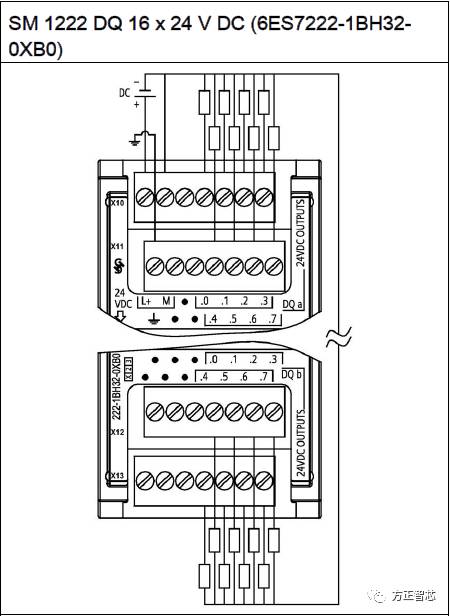
SM 1222 DQ 16X24V 消耗背板5V电流140mA,消耗24V传感器电流100mA,从上到下端子编号为X10、X11、X12和X13,针脚定义如下(注意与Relay型的区别):

接线概览图如下:

针脚定义和接线图给大家介绍完毕,我们来分析总结下:
SM1222数字量输出模块分为继电器型(Relay)和晶体管型(MOSFET),输出模块的每一个通道都相当于一个触点,当触点闭合后,电流会从通道流出。所不同的是:继电器型的模块,均需要接外部电源(接线图的L点),当从外部输入交流电时,通道闭合后会有交流电输出;当外部输入直流电时,通道闭合后会有直流电输出。所以继电器(Relay)类型的模块既可用来控制交流接触器,也可用来控制直流接触器;而晶体管(MOSFET)类型的模块当触点闭合时,是把内部的直流24V电压向外输出,它只能用来控制直流接触器。这是两者的本质区别,这样讲解你是不是清楚了呢?
扫描下面的二维码,关注“方正智芯”的原创文章,提供工业控制领域(PLC、单片机、通信)的技术和经验的分享,持续关注,持续进步。

点击这里下载本文的PDF版本:
北岛夜话



发表评论