前面的文章我们曾介绍过西门子ET 200SP的故障安全型数字量输入模块(认识西门子ET 200SP故障安全数字量输入模块——F-DI 8x24VDC HF),今天这篇文章我们来介绍如何使用该模块连接安全型接近开关。

本例程使用易福门(IFM)公司生产的GG711S安全型电感式接近开关,它的外观如下图所示:

GG711S具有两路OSSD输出通道。OSSD是英文"Output Switching Signal Device",即“输出信号可切换设备”的缩写。普通的直流24V输出通道,在激活状态下会一直输出24V电压,而具有OSSD功能的输出通道,在激活状态下可以短时间关闭通道并进行回读。如果通道关闭后其输出侧仍有24V电压,则说明通道的开关无法正常关闭,此时设备将转入安全状态。OSSD通道还可以检测外部可能存在的短路风险。
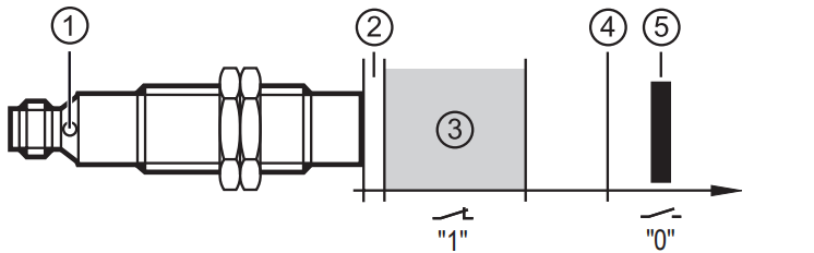
GG711S安全型接近开关的两路OSSD输出通道的是相互独立的,任何一个通道检测到故障都会将整个传感器切换到安全状态,这意味着两路输出通道都将关闭。在正常情况下,如果传感器位于工作区,则输出逻辑信号1,否则输出逻辑信号0。工作区及感应距离等如下图所示:

其中:
①双信号LED:黄色表示信号,绿色表示电源;
②死区(close zone);
③工作区(enable zone);
④安全关闭距离(safe switch-off distance);
⑤感应物(target);
将GG711S连接到西门子ET 200SP的F-DI 8x24V DC HF模块上,接线原理图如下:

接下来介绍F-DI模块的组态。
新建项目,添加CPU 1513F-1PN和ET 200SP子站(接口模块IM 155-6 PN ST),在子站中添加F-DI 8x24V DC HF模块,如下图所示:

选中F-DI8x24V DC HF模块,在其属性中将通道0和通道4的传感器评估设置为“1oo2 evaluation,equivalent(二选一对等评估)”。由于没有使用模块的传感器电源,因此在“Sensor supply(传感器供电)”中选择“External sensor supply(外部传感器电源)”,如下图所示:

根据图纸的设计,将模块的I/O起始地址设置为500,这样就可以通过地址I500.0获取传感器GG711S的状态值,并在安全程序中进行编程。
好了,关于GG711S连接西门子ET200SP的F-DI 8x24V DC HF模块的内容就先介绍到这里。
下面是西门子ET 200SP的文章归档链接:
》》西门子SIMATIC ET 200SP分布式系统文章归档《《
我的书《西门子S7-1200/1500 PLC SCL语言编程 ——从入门到精通》从硬件到软件,比较详细的介绍了SCL语言的编程,感兴趣的话可以扫描下面的二维码查看:

北岛夜话



发表评论